robotics-paper-notes / Non-AI 60
ICRA 2025 / expanded arXiv corpus / stricter non-AI pass

Non-AI 60 feed

expanded 521 corpus から、classical / model-based 寄りの論文を強めに残して選び直した 60 本の feed。Top 12 より広く、一覧より深く眺めるためのページです。

このページの見方

  • expanded 521 corpus を母集団にして、strict な non-AI pass で 60 本へ絞り直した
  • 左側で TL;DR / 問題設定 / 新規性 / 手法をざっと確認する
  • 右側の representative figure で論文の絵としての輪郭を掴む

Topic spread

  • Aerial Robots: Mechanics and Control 13 papers
  • SLAM 43 papers
  • Visual-Inertial Odometry3 papers
  • Aerial Robots: Planning and Control2 papers
  • Calibration 32 papers
  • Imaging, Scanning, Localization2 papers
  • Legged Locomotion: Novel Methods2 papers
  • Legged Robots2 papers
  • Localization 12 papers
  • Localization 62 papers
  • Model Predictive Control2 papers
  • Motion Planning 12 papers
01 / 60 Aerial Manipulation 1 Aerial ManipulationTrajectory OptimizationRobust ControlMoving Target Grasping

Hook-Based Aerial Payload Grasping from a Moving Platform

hook が payload に掛かるイベントを **complementarity constraint** で表し、把持時刻を最適化の中で決める点。

TL;DR

  • moving platform 上の payload を hook 付き quadrotor で拾う問題を、**complementarity constraints 付き軌道最適化**で解いている。
  • 把持時刻を固定せず、一定時間窓の中で **いつ引っ掛けるのが最適か**まで最適化に入れているのが肝。
  • digital twin 予測と IQC ベースの robustness analysis まで入っており、単なる demo よりかなり control 寄りの論文。

何を解決?

moving UGV などから aerial robot が payload を受け取るには、位置合わせだけでなく **タイミング** が非常に重要になる。

何が新しい?

hook が payload に掛かるイベントを **complementarity constraint** で表し、把持時刻を最適化の中で決める点。

どうやってる?

quadrotor と hook-payload 系のダイナミクスを入れた nonlinear optimal control problem を立てる。

どこが強い?

grasping event を「離散な if 文」でなく、最適化の中で扱っているのがきれい。

non-AI として見る価値

aerial manipulation の難しさを、policy 学習ではなく **接触イベントと軌道最適化**として正面から扱っている。

自分の理解 / 感想

派手な aerial pickup demo というより、moving grasp をきちんと数理化した論文という印象。

SessionAerial Manipulation 1
Difficulty★★★★☆
AI依存度Non-AI
KeywordsHook Grasping / Complementarity Constraints / IQC / LTV-LQR / Digital Twin
02 / 60 Aerial Robots: Mechanics and Control 1 Aerial RobotsLow-Level ControlThrust EstimationFlight Dynamics

A Generalized Thrust Estimation and Control Approach for Multirotors Micro Aerial Vehicles

BEMT をベースにした thrust / power 推定を、ESC telemetry だけで real-time に回している点。

TL;DR

  • rotor thrust を単純な二次式でなく、**BEMT ベースの一般化 thrust estimator** で推定して制御に入れる論文。
  • platform ごとに大量キャリブレーションする代わりに、**1点キャリブレーション + 物理モデル** で済ませようとしているのが実務的。
  • 省電力性は少し悪化するが、wind gust を含む実環境では tracking robustness が上がっている。

何を解決?

multirotor の下層制御では、推力とロータ速度の関係を単純な二次式で近似することが多い。

何が新しい?

BEMT をベースにした thrust / power 推定を、ESC telemetry だけで real-time に回している点。

どうやってる?

電流・電圧・回転数から mechanical / aerodynamic power を見積もる。

どこが強い?

モデルベースなのに重すぎず、**autopilot に現実的に入る**。

non-AI として見る価値

drone control の性能は policy だけでなく、**最下層の thrust estimation** でもかなり変わることが分かる。

自分の理解 / 感想

派手さはないが、PX4 周辺の実務にはかなり効きそうな改善。

SessionAerial Robots: Mechanics and Control 1
Difficulty★★★☆☆
AI依存度Non-AI
KeywordsBEMT / Thrust Mapping / PX4 / Feedforward PID / Aerodynamic Modeling
03 / 60 Aerial Robots: Mechanics and Control 1 Aerial RobotsMinimalist PlatformsLow-Cost RoboticsMotion Control

The Spinning Blimp: Design and Control of a Novel Minimalist Aerial Vehicle Leveraging Rotational Dynamics and Locomotion

lighter-than-air の浮力と spinning dynamics を組み合わせた platform 設計。

TL;DR

  • helium balloon と spinning rotor を組み合わせた、**極小コスト・長時間飛行**寄りの minimalist aerial vehicle。
  • pendulum 的な受動安定性と bang-bang control を使い、quadrotor ほど複雑な attitude loop を持たずに飛ばしている。
  • 高性能機ではないが、**安全・安価・長寿命**という全く別の設計軸が面白い。

何を解決?

quadrotor は機動性は高いが、制御も消費電力も重く、屋内や教育用途ではオーバースペックなことがある。

何が新しい?

lighter-than-air の浮力と spinning dynamics を組み合わせた platform 設計。

どうやってる?

helium balloon がほぼ重量を支え、2 つの DC motor と wing/propeller 系が回転運動を作る。

どこが強い?

とにかく安くて安全で、長時間飛べる。

non-AI として見る価値

ロボット設計では「制御で頑張る」以外に、**機体の自然ダイナミクスで問題を楽にする**道があると分かる。

自分の理解 / 感想

めちゃくちゃ強い飛行体ではないが、設計思想がきれいで好き。

SessionAerial Robots: Mechanics and Control 1
Difficulty★★☆☆☆
AI依存度Non-AI
KeywordsLTA / Blimp / Bang-Bang Control / Passive Stability / Long Endurance
04 / 60 Aerial Robots: Mechanics and Control 1 Aerial RobotsSafe NavigationControl Barrier FunctionsMotion Control

Safe Quadrotor Navigation Using Composite Control Barrier Functions

各障害物の安全制約を soft-min 的にまとめた **composite CBF** で、多数制約を 1 本の滑らかな制約として扱う点。

TL;DR

  • cluttered environment で多数の障害物制約をそのまま扱うと重い、という CBF の弱点に対して、**composite CBF** で 1 つの滑らかな安全制約にまとめている。
  • quadrotor の姿勢を直接ひっくり返さず、**3次系っぽい thrust dynamics** を入れた定式化で high-order CBF を扱いやすくしている。
  • LiDAR ベースの実機実験まで出しており、**安全フィルタを最後段で被せる classical safety shield** としてかなり実用寄り。

何を解決?

CBF 系の安全制御は、障害物が増えると制約本数が増えすぎて計算が重くなりやすい。

何が新しい?

各障害物の安全制約を soft-min 的にまとめた **composite CBF** で、多数制約を 1 本の滑らかな制約として扱う点。

どうやってる?

障害物との距離に基づく安全関数を各障害物について作り、それを exponential / high-order CBF の形で微分して扱う。

どこが強い?

障害物数が多い場面でもスケールしやすく、**CBF の現場実装しづらさ**に真正面から答えている。

non-AI として見る価値

安全性を「policy が賢くなること」に期待せず、**安全制約を明示的に設計する**立場がはっきりしていて良い。

自分の理解 / 感想

CBF を実機に持っていくときの「障害物が多いとつらい」をかなり素直に解いた論文に見える。

SessionAerial Robots: Mechanics and Control 1
Difficulty★★★★☆
AI依存度Non-AI
KeywordsComposite CBF / High-Order CBF / Safety Filter / Quadrotor / Obstacle Avoidance
05 / 60 Aerial Robots: Planning and Control Motion PlanningControlIntelligent VehiclesAerial Robotics

Variable Time-Step MPC for Agile Multi-Rotor UAV Interception of Dynamic Targets

prediction step の `Δt_k` を最適化変数にし、horizon 長と sampling density を同時に調整する点。

TL;DR

  • 予測ステップ幅そのものを最適化変数に入れた `variable time-step MPC` を提案し、固定ステップ MPC より長い horizon と細かい maneuver を両立させる。
  • dynamic target interception / monitoring のような KOP 的タスクに対して、報酬と機動性を両方見ながら UAV 軌跡を作る。
  • onboard 実験まで通していて、agile UAV planning を実践寄りに詰めた MPC 論文。

何を解決?

fixed time-step MPC は、長い horizon を見たければ step 数を増やす必要があり、計算量がすぐ増える。

何が新しい?

prediction step の `Δt_k` を最適化変数にし、horizon 長と sampling density を同時に調整する点。

どうやってる?

quadrotor は differential flatness を使って簡略化し、jerk 入力の点質量モデル上で MPC を定式化する。

どこが強い?

アイデアが単純で効き方がわかりやすく、MPC 実装者に刺さる。

non-AI として見る価値

MPC の性能が cost だけでなく time discretization 設計で変わることがよくわかる。

自分の理解 / 感想

変数時刻幅は素朴だが強い発想で、agile planning の悩みにかなり素直に効いている。

SessionAerial Robots: Planning and Control
Difficulty★★★☆☆
AI依存度Non-AI
KeywordsMPC / Variable Time-Step / KOP / UAV Interception / Differential Flatness
06 / 60 Aerial Robots: Planning and Control Aerial RobotsTrajectory PlanningOptimal ControlUAV

Real-Time Planning of Minimum-Time Trajectories for Agile UAV Flight

point-mass model で **axis-wise ではなく norm ベースの加速度制約**を使い、使える推力をより素直に使っている点。

TL;DR

  • agile UAV flight の time-optimal trajectory planning を、**point-mass model ベースでミリ秒級**まで落としている。
  • 軸ごとの加速度制約でなく **acceleration norm** を使い切る設計と、drag を含む簡略モデルが効いている。
  • full dynamics の厳密最適化ほど美しくはないが、**onboard replanning できる速度**を狙った実務寄りの論文。

何を解決?

multi-waypoint の time-optimal trajectory は、full multirotor dynamics で真面目に解くと重すぎて onboard replanning が難しい。

何が新しい?

point-mass model で **axis-wise ではなく norm ベースの加速度制約**を使い、使える推力をより素直に使っている点。

どうやってる?

まず単一区間では、Pontryagin 的な bang-bang / bang-singular-bang 構造を使って区間時間を解析的に近く解く。

どこが強い?

とにかく速い。**minimum-time を onboard で回したい**という要求に対して、かなり筋が良い。

non-AI として見る価値

「速い planner」が learned policy ではなく、**簡略化した力学と解析構造**から出てきているのが面白い。

自分の理解 / 感想

理論的に一番美しいというより、agile flight を回すための良い engineering という印象。

SessionAerial Robots: Planning and Control
Difficulty★★★☆☆
AI依存度Non-AI
KeywordsMinimum-Time Planning / Point-Mass Model / Bang-Bang / Drag Modeling / NMPC
07 / 60 Agricultural Automation 4 Agricultural RoboticsNavigationLiDAR PerceptionModel Predictive Control

Towards Over-Canopy Autonomous Navigation: Crop-Agnostic LiDAR-Based Crop-Row Detection in Arable Fields

crop-specific な特徴設計に寄らず、**高さ差と row 幾何**で検出する crop-agnostic な over-canopy LiDAR pipeline。

TL;DR

  • crop row detection を **over-canopy LiDAR** でやり、RTK-GPS なしでも field navigation できるようにしている。
  • ground filtering + K-means + RANSAC というかなり classical な構成で、**crop-agnostic** に row を抜くのがポイント。
  • detection だけで終わらず、nonlinear MPC による row following と lane switching まで入れた実システム論文。

何を解決?

農業ロボットは RTK-GPS に強く依存しがちだが、環境やコストの制約で使いにくいことがある。

何が新しい?

crop-specific な特徴設計に寄らず、**高さ差と row 幾何**で検出する crop-agnostic な over-canopy LiDAR pipeline。

どうやってる?

傾けて載せた LiDAR から点群を取り、virtual ground plane で地面や低い不要点を落とす。

どこが強い?

アルゴリズムがかなり素朴で、**field robot に載せやすい**。

non-AI として見る価値

農業ロボでも、派手な学習器なしで **幾何・フィルタ・MPC** を積めばかなり戦えると分かる。

自分の理解 / 感想

新規アルゴリズムが尖っているというより、field deployment を強く意識した堅いシステム論文。

SessionAgricultural Automation 4
Difficulty★★★☆☆
AI依存度Non-AI
KeywordsCrop Row Detection / Over-Canopy / K-Means / RANSAC / EKF / MPC
08 / 60 Autonomous Vehicle Perception 4 ExplorationMAVSLAMOccupancy Mapping

Efficient Submap-Based Autonomous MAV Exploration Using Visual-Inertial SLAM Configurable for LiDARs or Depth Cameras

active submap と frozen submap を分け、**submap-local frontier から global frontier を効率更新**する点。

TL;DR

  • MAV exploration を、**submap ベースの frontier 管理**で軽く回すシステム論文。
  • local / global frontier をうまく分けつつ、階層 planner を複雑化しすぎず **single-pass exploration** にしているのがポイント。
  • depth camera と LiDAR の両方に寄せられる構成で、GPU なし寄りの onboard 実装として実用感が高い。

何を解決?

長距離 exploration では visual-inertial odometry drift が溜まり、map が歪んで frontier 管理も重くなりやすい。

何が新しい?

active submap と frozen submap を分け、**submap-local frontier から global frontier を効率更新**する点。

どうやってる?

state estimation は OKVIS2 系を土台にし、必要に応じて LiDAR を重ねる。

どこが強い?

drift と frontier explosion の両方に対して、submap でかなり上手く整理している。

non-AI として見る価値

exploration を learned NBV でなく、**frontier / occupancy / MPC** の王道構成で実務寄りに磨いている。

自分の理解 / 感想

論文単体の新規性より、現場で本当に回る exploration system をどう組むかが見えるのが良い。

SessionAutonomous Vehicle Perception 4
Difficulty★★★☆☆
AI依存度Non-AI
KeywordsFrontier Exploration / Submaps / VI-SLAM / supereight2 / MPC / Loop Closure
09 / 60 Calibration 1 CalibrationManipulatorExperimental DesignBayesian Optimization

Bayesian Optimal Experimental Design for Robot Kinematic Calibration

end-effector pose 空間上で calibration 実験を設計する **Bayesian experimental design** を前面に出している点。

TL;DR

  • robot kinematic calibration で「どの姿勢を次に測ると一番うまく較正できるか」を、**Bayesian optimal experimental design** として解いている。
  • SE(3) を雑に Euclidean 扱いせず、**S^3 x R^3 上の geometry-aware kernel** を使うところが技術的な芯。
  • 地味だがかなり classical で、少ない計測回数で calibration を詰めたい人には刺さるタイプ。

何を解決?

kinematic calibration は、良い計測姿勢を少数選べるかで効率が大きく変わる。

何が新しい?

end-effector pose 空間上で calibration 実験を設計する **Bayesian experimental design** を前面に出している点。

どうやってる?

現在の calibration 誤差を、end-effector pose 上の関数として GP で近似する。

どこが強い?

calibration を単なる最小二乗でなく、**測定設計問題**としてきちんと扱っている。

non-AI として見る価値

calibration で大事なのは「たくさん測る」より「どこを測るか」だとよく分かる。

自分の理解 / 感想

派手さはないが、姿勢空間の幾何をちゃんと守る calibration 論文として好感が持てる。

SessionCalibration 1
Difficulty★★★★☆
AI依存度Non-AI
KeywordsKinematic Calibration / Gaussian Process / Experimental Design / Quaternion Geometry / DH Parameters
10 / 60 Calibration 2 CalibrationLocalizationVision

PTZ-Calib: Robust Pan-Tilt-Zoom Camera Calibration

offline-heavy / online-light な **two-stage** 設計で、実運用に向いた PTZ calibration にした点。

TL;DR

  • PTZ camera の calibration を、offline と online に分けた二段構成で解く `PTZ-Calib`。
  • offline では reference views から feature tracks と ray landmarks を作って self-calibration し、online では新視点を relocalization として解く。
  • pan / tilt / zoom に加えて focal length や distortion もまとめて扱い、real / synthetic の両方で強い。

何を解決?

PTZ camera は pan / tilt / zoom が変わるたびに内外部パラメータ推定が面倒で、既存法は既知初期値や単純化仮定に寄りがち。

何が新しい?

offline-heavy / online-light な **two-stage** 設計で、実運用に向いた PTZ calibration にした点。

どうやってる?

offline では、最低 zoom で 360 度をカバーする reference images を集め、SuperPoint / SuperGlue で feature tracks を構築する。

どこが強い?

PTZ の実用運用をかなり意識した構成で、online stage を軽くしている。

non-AI として見る価値

calibration を「一回の最適化」でなく、offline asset 構築と online inference に分ける設計が勉強になる。

自分の理解 / 感想

calibration 論文としてかなりバランスが良く、theory と system design の距離が近い。

SessionCalibration 2
Difficulty★★★☆☆
AI依存度Non-AI
KeywordsPTZ Camera / Bundle Adjustment / Relocalization / Ray Landmarks / Georeferencing
11 / 60 Calibration 3 SLAMLocalizationPerceptionSensor Fusion

Universal Online Temporal Calibration for Optimization-Based Visual-Inertial Navigation Systems

time offset `t_d` を state に足し、視覚残差の Jacobian に明示的に入れて online 最適化できるようにした点。

TL;DR

  • optimization-based VINS の camera-IMU time offset を、追加 state と Jacobian で online に同時推定する手法。
  • optical flow に強く依存せず、姿勢・速度由来の補正式を視覚残差へ直接組み込むので、既存 VINS に比較的入れやすい。
  • EuRoC と simulation では noisy sensor 条件でも time offset 推定が安定し、収束速度も良いという主張。

何を解決?

camera と IMU の時間ずれは、見た目以上に VINS の初期化・追跡・精度に効く。

何が新しい?

time offset `t_d` を state に足し、視覚残差の Jacobian に明示的に入れて online 最適化できるようにした点。

どうやってる?

IMU 姿勢・位置を画像タイムスタンプへずらす補正式を導き、視覚因子の residual に `t_d` の寄与を追加する。

どこが強い?

地味だが効く calibration 問題を、VINS の本体 optimizer の中で自然に扱っている。

non-AI として見る価値

localization の実性能を落とす原因が「アルゴリズム本体」ではなく「時刻ずれ」にあることを再認識できる。

自分の理解 / 感想

かなり実装フレンドリーで、VINS の安定化に効くタイプの論文。こういう論文は後から効いてくる。

SessionCalibration 3
Difficulty★★★☆☆
AI依存度Non-AI
KeywordsTemporal Calibration / VINS / Time Offset / Jacobian / Online Optimization
12 / 60 Calibration 3 CalibrationLocalizationUWBSensor Fusion

Large-Scale UWB Anchor Calibration and One-Shot Localization Using Gaussian Process

CT-LIO 軌跡と UWB range を使い、**Gaussian Process で大規模 anchor calibration** を行う点。

TL;DR

  • 広い warehouse / seaport 環境で、**UWB anchor calibration を one-shot でやる**ために GP を使った論文。
  • continuous-time LIO で作った軌跡と UWB range を合わせ、GPS なしでも anchor 位置を較正している。
  • その較正済み UWB を loop-closure / one-shot localization の search-space 削減に使う構成が実務的。

何を解決?

大規模屋外・半屋内では GPS が不安定で、UWB anchor の配置較正も簡単ではない。

何が新しい?

CT-LIO 軌跡と UWB range を使い、**Gaussian Process で大規模 anchor calibration** を行う点。

どうやってる?

車体に LiDAR / IMU / UWB を積んで 1 回走行し、CT-LIO で連続時間軌跡を作る。

どこが強い?

かなり広い現場スケールを意識していて、実環境での deployability が高い。

non-AI として見る価値

UWB と LiDAR を learning なしで、**統計モデルと幾何照合**でうまく役割分担させている。

自分の理解 / 感想

地味だけど現場ではかなり効きそうな論文。

SessionCalibration 3
Difficulty★★★☆☆
AI依存度Non-AI
KeywordsUWB Calibration / Gaussian Process / CT-LIO / One-Shot Localization / Descriptor Filtering
13 / 60 Imaging, Scanning, Localization Medical RoboticsVisual ServoingSpectroscopy ScanningSurgical Assistance

Automatic Robotic-Assisted Diffuse Reflectance Spectroscopy Scanning System

DRS scanning を in-situ tissue 上で行う robotic assistance system。

TL;DR

  • DRS probe を tissue 上で安定走査するための、**robot-assisted spectroscopy scanning system**。
  • image-based visual servoing と learned height estimation を組み合わせ、probe contact を安定させている。
  • control の芯は classical だが、probe/light detection や height estimation に DNN を使っており **Hybrid** 色が強い。

何を解決?

手持ち DRS probe による tissue scanning は、接触圧や手ぶれでスペクトル品質がぶれやすい。

何が新しい?

DRS scanning を in-situ tissue 上で行う robotic assistance system。

どうやってる?

KUKA iiwa に probe を載せ、third-person / wrist camera で probe と light area を観測する。

どこが強い?

spectroscopy を「データを取るだけ」でなく、**安定に押し当てて走査するロボ制御問題**として扱っている。

non-AI として見る価値

Hybrid だが、医療ロボで **perception は学習、制御は classical** という分担がよく見える。

自分の理解 / 感想

医療系システム論文としてかなりちゃんとしていて、見た目以上に control integration が大変そう。

SessionImaging, Scanning, Localization
Difficulty★★★★☆
AI依存度Hybrid
KeywordsDRS / Visual Servoing / Contact Height Estimation / KUKA iiwa / Surgical Scanning
14 / 60 Imaging, Scanning, Localization Medical Imaging2D/3D RegistrationSurgical NavigationMulti-View Pose Estimation

Robust and Accurate Multi-View 2D/3D Image Registration with Differentiable X-Ray Rendering and Dual Cross-View Constraints

single-view DiffPose 系を拡張し、**multi-view registration** として明示的に定式化した点。

TL;DR

  • preoperative CT と intraoperative X-ray を合わせる 2D/3D registration を、**multi-view 化**して安定化した論文。
  • differentiable DRR rendering と cross-view consistency が核で、単一 view より registration を崩れにくくしている。
  • ただし中には ResNet ベースの pose regressor も入っていて、幾何主体ではあるが **pure non-AI ではない**。

何を解決?

単一 X-ray から CT を rigid registration する 2D/3D alignment は、投影情報が少なく不安定になりやすい。

何が新しい?

single-view DiffPose 系を拡張し、**multi-view registration** として明示的に定式化した点。

どうやってる?

CT から differentiable DRR renderer で各 view の合成 X-ray を作る。

どこが強い?

2D/3D registration を multi-view consistency で補強する発想が素直で、single-view の不安定さに効いている。

non-AI として見る価値

fully non-AI ではないが、**DRR rendering / SE(3) geometry / NCC fine-tuning** など classical 要素が主役。

自分の理解 / 感想

中身は hybrid だが、「学習だけ」ではなく幾何とレンダリングで支えている点が面白い。

SessionImaging, Scanning, Localization
Difficulty★★★★☆
AI依存度Hybrid
KeywordsDRR / X-Ray Rendering / SE(3) / Cross-View Constraint / Registration / Surgical Guidance
15 / 60 Legged Locomotion: Novel Methods Legged LocomotionHumanoid ControlDCMAngular Momentum Planning

Angular Divergent Component of Motion: A Step towards Planning Spatial DCM Objectives for Legged Robots

flywheel 的な 1D 回転モデルから **angular DCM** を導いた点。

TL;DR

  • 従来 linear CoM motion 中心だった DCM を、**角運動側へ拡張した angular DCM** の論文。
  • 1D 回転については linear DCM とかなり似た形になり、orientation planning を同じ枠組みで扱える。
  • humanoid walking で並進と回転を一緒に考えたい人にはかなり自然な拡張。

何を解決?

DCM は humanoid locomotion で強力だが、主に CoM 並進の計画に使われ、姿勢回転側は別扱いになりがちだった。

何が新しい?

flywheel 的な 1D 回転モデルから **angular DCM** を導いた点。

どうやってる?

SRBM に基づいて、並進側と角運動側の簡約ダイナミクスを作る。

どこが強い?

DCM 系の理論を壊さずに、**orientation objective** を追加できるのが綺麗。

non-AI として見る価値

locomotion control の classic tool を、**数理的に少し広げるだけで新しい制御対象へ拡張できる**好例。

自分の理解 / 感想

extension として非常に素直で、読むと「確かに欲しかったやつ」という感じ。

SessionLegged Locomotion: Novel Methods
Difficulty★★★☆☆
AI依存度Non-AI
KeywordsDivergent Component of Motion / Angular DCM / SRBM / VRP / CoP Constraint
16 / 60 Legged Locomotion: Novel Methods Legged LocomotionTrajectory OptimizationPeriodic GaitsStability Analysis

Single-Stage Optimization of Open-Loop Stable Limit Cycles with Smooth, Symbolic Derivatives

periodicity だけでなく、monodromy matrix の spectral radius を explicit に制約する single-stage optimization。

TL;DR

  • open-loop stable な periodic gait を、**single-stage optimization** で直接求めようとする論文。
  • monodromy matrix の固有値制約をいくつか比較し、**Schur decomposition** が一番扱いやすいと示している。
  • open-loop stability を明示制約に入れる発想がかなり良い。

何を解決?

legged gait design では feedback stabilization が主役になりがちで、open-loop stability 自体は後回しにされやすい。

何が新しい?

periodicity だけでなく、monodromy matrix の spectral radius を explicit に制約する single-stage optimization。

どうやってる?

Direct Collocation で周期運動の最適化問題を立てる。

どこが強い?

stability を後付け評価でなく、**最適化の本体に入れている**のが本質的に強い。

non-AI として見る価値

locomotion stability を、経験的 tuning でなく **固有値と limit cycle 理論**で詰める classical ど真ん中の論文。

自分の理解 / 感想

数値的には繊細だけど、やろうとしていることはとても正しい。

SessionLegged Locomotion: Novel Methods
Difficulty★★★★☆
AI依存度Non-AI
KeywordsLimit Cycle / Direct Collocation / Monodromy Matrix / Schur Decomposition / Open-Loop Stability
17 / 60 Legged Robots Legged RobotsModel Predictive ControlMultibody DynamicsEmbodied Compliance

Deformable Multibody Modeling for Model Predictive Control in Legged Locomotion with Embodied Compliance

deformable body を複数 sub-body に分けて扱う一般的な multibody 表現。

TL;DR

  • compliant spine を持つ脚ロボを rigid body 近似で済ませず、**deformable multibody model** を MPC に入れようとする論文。
  • 変形に応じて inertia が変わることを、**predictive deformed inertia / CCPDI** で horizon 内へ持ち込むのが肝。
  • locomotion with embodied compliance を真面目にモデル化したい人にはかなり刺さる。

何を解決?

標準的な legged MPC は rigid-body 前提が強く、柔らかい spine や compliance を持つ robot では inertia 予測がズレやすい。

何が新しい?

deformable body を複数 sub-body に分けて扱う一般的な multibody 表現。

どうやってる?

deformable spine などを、相対運動する rigid sub-body 群として近似する。

どこが強い?

compliance を「余計なノイズ」でなく、**モデルに入れるべき構造**として扱っているのが良い。

non-AI として見る価値

embodied compliance を「学習で吸収」せず、**ダイナミクスを増やしてでもモデルで扱う**方向性が明快。

自分の理解 / 感想

かなりまっとうな問題設定で、compliant legged system を rigid MPC の外側に置かないのが良い。

SessionLegged Robots
Difficulty★★★★☆
AI依存度Non-AI
KeywordsCentroidal Dynamics / Deformable Multibody / Compliance / Inertia Prediction / MPC
18 / 60 Legged Robots Legged RobotsModel Predictive ControlWhole-Body ControlBenchmarking

Benchmarking Different QP Formulations and Solvers for Dynamic Quadrupedal Walking

sparse / partially condensed / dense の各 QP formulation を、複数 solver と複数 hardware 上で系統比較している点。

TL;DR

  • quadruped walking で使う QP について、**formulation / solver / hardware** をまとめて比べた実務寄りベンチマーク。
  • MPC では **sparse + HPIPM** が強く、WBC では problem size が小さいため formulation 差のほうが効く、というかなり役立つ結論が出ている。
  • 論文の芯は新アルゴリズムではなく、**Solve Frequency per Watt (SFPW)** という省電力込み指標を含めた比較にある。

何を解決?

legged control では MPC でも WBC でも QP を解くが、どの solver・定式化・計算機を選ぶべきかは経験則に寄りがち。

何が新しい?

sparse / partially condensed / dense の各 QP formulation を、複数 solver と複数 hardware 上で系統比較している点。

どうやってる?

単一剛体近似ベースの MPC と、TSID 系の WBC 問題を benchmark 問題として用意する。

どこが強い?

実装者にそのまま役立つ。「どれを使うべきか」にかなり直接答えている。

non-AI として見る価値

classical control の世界では、アルゴリズムだけでなく **数値最適化の実装選択** が性能を決めることがよく分かる。

自分の理解 / 感想

新規性は控えめでも、こういう benchmark は実際かなりありがたい。

SessionLegged Robots
Difficulty★★★☆☆
AI依存度Non-AI
KeywordsQP Solver / Sparse MPC / Condensing / Whole-Body Control / SFPW
19 / 60 Localization 1 LocalizationGNSS FusionLiDARSensor Fusion

GNSS/Multi-Sensor Fusion Using Continuous-Time Factor Graph Optimization for Robust Localization

センサ周波数に依存しない **time-centric** な因子グラフ構築にして、推定時刻を任意に選べるようにした点。

TL;DR

  • 都市峡谷やトンネルで GNSS が壊れても動くように、連続時間の因子グラフで GNSS・IMU・速度・LiDAR odometry をまとめて融合する `gnssFGO` を提案している。
  • Gaussian process による連続時間軌跡表現を使うので、非同期センサを無理に同期させず、任意時刻の状態を補間して因子を張れる。
  • Aachen の 17 km シーケンスでは、tight coupling で平均 2D 誤差 0.48 m を出しており、GNSS 劣化区間で LiDAR 中心の従来法よりかなり粘る。

何を解決?

都市環境では GNSS が multipath や NLOS で壊れやすく、LiDAR 側もトンネルや退化区間で外すので、単一センサ主導の localization だと破綻しやすい。

何が新しい?

センサ周波数に依存しない **time-centric** な因子グラフ構築にして、推定時刻を任意に選べるようにした点。

どうやってる?

軌跡は GP prior 付きの連続時間状態列として表現し、測定時刻に厳密な state がなくても補間して残差評価する。

どこが強い?

非同期センサ融合をかなり自然に扱えていて、実ロボットの現実的な timestamp ずれ・周波数差に強い。

non-AI として見る価値

localization を「どのセンサを何時刻の状態に結び付けるか」という因子設計の問題として学べる。

自分の理解 / 感想

GNSS + LiDAR の論文の中でも、単に精度が良いだけでなく「非同期センサをどう graph に入れるか」が主題になっていて学びやすい。

SessionLocalization 1
Difficulty★★★★☆
AI依存度Non-AI
KeywordsContinuous-Time FGO / Gaussian Process / Tight Coupling / GNSS Pseudorange / Doppler
20 / 60 Localization 1 SLAMLocalizationLiDARState Estimation

Equivariant Filter for Tightly Coupled LiDAR-Inertial Odometry

EqF を LIO に持ち込み、navigation state・IMU bias・LiDAR extrinsic を半直積群の対称性でまとめて扱った点。

TL;DR

  • EKF 系 LIO の弱点である線形化誤差と不整合を減らすために、equivariant filter を使った tightly coupled LIO `Eq-LIO` を提案している。
  • IMU bias と LiDAR extrinsic まで含めた半直積群の対称性を使い、常に固定された原点で線形化することで一貫性を改善する設計。
  • 公開・私有データセットのベンチマークでは、計算コストを大きく増やさずに精度・堅牢性・consistency の改善を狙っている。

何を解決?

EKF ベースの LIO は非線形性が強い場面で線形化誤差が大きく、covariance が過信気味になる不整合が出やすい。

何が新しい?

EqF を LIO に持ち込み、navigation state・IMU bias・LiDAR extrinsic を半直積群の対称性でまとめて扱った点。

どうやってる?

state は navigation pose / velocity / position に加え、gyro・acc bias と LiDAR extrinsic を含む多様体上で定義する。

どこが強い?

「なぜ一貫性が良くなるのか」の説明が、経験則ではなく群論ベースで通っている。

non-AI として見る価値

LiDAR-IMU 融合を「どの群で state を持つか」というレベルまで掘って考えられる論文。

自分の理解 / 感想

かなり理論寄りだが、LIO の精度改善を数値テクニックではなく state の持ち方から攻めているのが良い。

SessionLocalization 1
Difficulty★★★★★
AI依存度Non-AI
KeywordsLIO / Equivariant Filter / IMU Bias / Extrinsic Calibration / Consistency
21 / 60 Localization 4 Ground Texture LocalizationVisual Place RecognitionLoop Closure DetectionSLAM

Improved Bag-Of-Words Image Retrieval with Geometric Constraints for Ground Texture Localization

hierarchical k-means ではなく **approximate k-means (AKM)** を使って語彙の質を上げている。

TL;DR

  • downward-looking camera で地面テクスチャを読む localization / loop closure を、**BoW retrieval の改良だけで大きく伸ばした**論文。
  • 改良の核は、AKM vocabulary、soft assignment、keypoint size binning、orientation consistency check で、**ground texture 特有の幾何制約**を素直に使っている点。
  • 学習器を足すのではなく、古典的 image retrieval をタスクに合わせて詰め直したタイプで、かなり実装志向。

何を解決?

地面テクスチャ localization は、環境改変なしで高精度を狙える一方、BoW をそのまま当てると量子化誤差や誤対応で retrieval 精度が頭打ちになりやすい。

何が新しい?

hierarchical k-means ではなく **approximate k-means (AKM)** を使って語彙の質を上げている。

どうやってる?

ORB 系の局所特徴を抽出し、BoW inverse index で候補画像を検索する基本構造は維持する。

どこが強い?

やっていることは BoW の延長だが、**ground texture という限定ドメインに対して改良点が全部噛み合っている**。

non-AI として見る価値

「古典手法でも、観測条件の幾何をちゃんと使えばまだ伸びる」ことを示す良い例。

自分の理解 / 感想

かなり好感の持てる改良論文で、派手さはないが「なぜ ground texture で標準 BoW がもったいないのか」を丁寧に潰している印象。

SessionLocalization 4
Difficulty★★★☆☆
AI依存度Non-AI
KeywordsBag-of-Words / Approximate k-means / Soft Assignment / Ground Texture / Loop Closure
22 / 60 Localization 6 Visual NavigationFeature TrackingSafety FilterControl for Perception

Enhancing Feature Tracking Reliability for Visual Navigation Using Real-Time Safety Filter

可視 landmark の重み付き総量を **safety condition** として定義し、forward invariance を保つ filter に落としている。

TL;DR

  • visual navigation で十分な feature を見失わないよう、**visibility を制御制約として扱う safety filter** を提案している。
  • 参照入力をなるべく崩さずに、QP ベースの filter でロボット速度を修正し、**必要な visual information score を下回らない**ようにする。
  • belief-space planning のような重い手法ではなく、**リアルタイムな制御層で feature tracking reliability を守る**発想が面白い。

何を解決?

visual odometry / V-SLAM は、追跡できる feature 数が落ちるとすぐ不安定になる。

何が新しい?

可視 landmark の重み付き総量を **safety condition** として定義し、forward invariance を保つ filter に落としている。

どうやってる?

ロボット運動学と landmark の見え方を関係づけ、現在の状態でどれだけ feature visibility を確保できているかを score 化する。

どこが強い?

視覚情報を「nice to have」ではなく、**守るべき制約**として明示しているのが強い。

non-AI として見る価値

perception と control をつなぐ古典的アプローチの好例で、learned active perception と違って挙動理由を説明しやすい。

自分の理解 / 感想

「見えるように計画する」ではなく「見えなくならないように制御で守る」という切り方がうまい。

SessionLocalization 6
Difficulty★★★★☆
AI依存度Non-AI
KeywordsQuadratic Programming / Control Barrier Function / Visibility Constraint / Real-Time Filtering
23 / 60 Localization 6 SLAMLocalizationLiDARState Estimation

SuperLoc: The Key to Robust LiDAR-Inertial Localization Lies in Predicting Alignment Risks

point correspondence の Jacobian から、最適化前に **alignment risk** を計算する予測的な退化検知。

TL;DR

  • LiDAR localization の失敗を ICP の後で検知するのでなく、**最適化前に alignment risk を予測**して回避する `SuperLoc` を提案している。
  • point-plane 対応の Jacobian から各自由度の観測性を推定し、退化方向だけ代替 odometry の拘束を強める能動的 sensor fusion が肝。
  • 洞窟・長廊下・階段のような退化環境で大きく効いており、従来の Hessian 事後解析よりかなり実用寄り。

何を解決?

map-based LiDAR localization は、幾何特徴が弱い環境で ICP が不安定になりやすい。

何が新しい?

point correspondence の Jacobian から、最適化前に **alignment risk** を計算する予測的な退化検知。

どうやってる?

point-to-plane 対応の Jacobian を解析し、X/Y/Z/Roll/Pitch/Yaw 方向の観測可能性を評価する。

どこが強い?

退化を後追いでなく事前に見るので、安全側に寄せやすい。

non-AI として見る価値

localization failure を「最適化器の不調」ではなく「どの自由度が観測されていないか」で考えられる。

自分の理解 / 感想

退化問題への向き合い方が良く、LiDAR localization の壊れ方をかなり実務的に捉えている。

SessionLocalization 6
Difficulty★★★★☆
AI依存度Non-AI
KeywordsLiDAR Localization / Alignment Risk / Observability / Degeneracy / Sensor Fusion
24 / 60 Manipulation Planning Manipulation PlanningContact-Rich ManipulationTrajectory OptimizationConvex Relaxation

Hierarchical Contact-Rich Trajectory Optimization for Multi-Modal Manipulation Using Tight Convex Relaxations

kinematic planning、contact selection、full nonlinear refinement を **3 段階に分ける階層構造**。

TL;DR

  • contact-rich manipulation を、**K-OPT -> C-OPT -> Q-OPT の階層最適化**に分けて現実的に解こうとしている。
  • contact mode を固定せずに、MILP と tight convex relaxation を使って **接触位置・接触力・物体軌道**を同時に詰めるのが肝。
  • quasi-static 前提ではあるが、pivoting / sliding / regrasping みたいな multi-modal manipulation をかなりうまく扱っている。

何を解決?

contact-rich manipulation は、軌道だけでなく「どこで接触するか」「いつ接触を切り替えるか」まで同時に考える必要がある。

何が新しい?

kinematic planning、contact selection、full nonlinear refinement を **3 段階に分ける階層構造**。

どうやってる?

まず K-OPT で、物体がどう動くか・どの接触状態がありそうかを粗く決める。

どこが強い?

contact mode を固定しないのに、完全一体最適化よりはかなり現実的な計算量に落としている。

non-AI として見る価値

manipulation を learned policy で押し切らず、**接触の組合せ爆発をどう数理最適化で扱うか**が見える。

自分の理解 / 感想

発想としてはすごくまっとうで、「全部同時最適化は重すぎるから階層化し、でも緩みすぎないよう relaxation を締める」という流れが綺麗。

SessionManipulation Planning
Difficulty★★★★★
AI依存度Non-AI
KeywordsContact Planning / MILP / McCormick Relaxation / Quasi-Static Manipulation / Multi-Modal
25 / 60 Marine Robotics 3 Marine RoboticsState EstimationUnderwater LocalizationNonlinear Observers

Cascade IPG Observer for Underwater Robot State Estimation

rotation 推定と translation / velocity 推定を分けた **cascade IPG observer**。

TL;DR

  • underwater robot の state estimation を、**2 段の IPG observer を cascade** する形で設計している。
  • IMU preintegration を使うことで、厳密な hydrodynamic model に依りすぎない **model-light observer** にしているのがポイント。
  • EKF / InEKF 系より精度面でかなり健闘しており、underwater らしい「GPS なし・モデル不確か」をよく意識している。

何を解決?

underwater では GPS が使えず、vision も濁りや照明で不安定になりやすい。

何が新しい?

rotation 推定と translation / velocity 推定を分けた **cascade IPG observer**。

どうやってる?

第1段で quaternion / rotation を IPG ベースの observer で推定する。

どこが強い?

hydrodynamic model への依存を減らしているので、platform 変更に強そう。

non-AI として見る価値

sensor fusion を learned black box でなく、**observer design と preintegration** で詰める王道の論文。

自分の理解 / 感想

新奇性は爆発的ではないが、underwater という難しい条件に対してかなり筋の良い設計。

SessionMarine Robotics 3
Difficulty★★★☆☆
AI依存度Non-AI
KeywordsIPG Observer / IMU Preintegration / DVL / AHRS / Underwater State Estimation
26 / 60 Model Predictive Control Motion PlanningGround Robot NavigationTrajectory Optimization3D Architectural Spaces

Efficient Trajectory Generation Based on Traversable Planes in 3D Complex Architectural Spaces

点群から region growing などで **走行可能平面を抽出し、交差関係つき graph** を自動構築する。

TL;DR

  • 建築空間の floor / ramp / stairs を点群から **traversable plane graph** として抽出し、その上で ground robot の軌道を最適化する。
  • 単に path をつなぐだけでなく、**斜面の速度制限や階段上の姿勢制約**を明示的に入れているのが肝。
  • 平面抽出、graph search、trajectory optimization の流れがきれいで、複雑な屋内構造を classical に扱う実装論文という印象。

何を解決?

一般的な ground robot planner は 2.5D map や単層の floor を前提にしがちで、階段・斜面・多層空間では扱いにくい。

何が新しい?

点群から region growing などで **走行可能平面を抽出し、交差関係つき graph** を自動構築する。

どうやってる?

LiDAR point cloud から法線推定と領域成長で平面候補を作り、統合・分類して traversable planes を得る。

どこが強い?

建築空間の複雑さを、点群丸ごとではなく **robot 可走行な平面構造**に落とすので見通しが良い。

non-AI として見る価値

センサ点群から構造を抽出し、それをそのまま optimization に食わせる流れがきれい。

自分の理解 / 感想

建築空間を plane graph にするアイデア自体は素直だが、そこに stair / ramp の constraint を丁寧に入れているので論文として締まっている。

SessionModel Predictive Control
Difficulty★★★★☆
AI依存度Non-AI
KeywordsTraversable Plane / Plane Graph / ESDF / Trajectory Optimization / Stair Traversal
27 / 60 Model Predictive Control Humanoid NavigationModel Predictive ControlPath PlanningObstacle Avoidance

Model Predictive Control with Visibility Graphs for Humanoid Path Planning and Tracking against Adversarial Opponents

visibility graph の node/state に heading を持たせた **Dynamic Augmented Visibility Graph**。

TL;DR

  • humanoid soccer の path planning / tracking を、**turning-cost-aware visibility graph + collision-free MPC** で解く論文。
  • visibility graph 側で turning cost を入れるのが humanoid 向けにかなり重要。
  • obstacle avoidance と tracking を mode switching で分けず、**1つの MPC でなめらかに扱う**のが実践的。

何を解決?

humanoid は turning が高コストなので、単純な Euclidean shortest path では走りにくい。

何が新しい?

visibility graph の node/state に heading を持たせた **Dynamic Augmented Visibility Graph**。

どうやってる?

global 側では、active obstacle だけを抜き出して visibility graph を作る。

どこが強い?

humanoid にとって本当に重要な **turning cost** を graph planning に入れている。

non-AI として見る価値

competition-level humanoid navigation でも、**visibility graph + MPC** の王道構成がまだ非常に強いと分かる。

自分の理解 / 感想

新理論というより、必要な工夫をちゃんと実機へ落とした良い system paper。

SessionModel Predictive Control
Difficulty★★★☆☆
AI依存度Non-AI
KeywordsVisibility Graph / Turning Cost / Collision-Free MPC / RoboCup / Humanoid Path Tracking
28 / 60 Model Predictive Control for Legged Robots 1 Motion PlanningControlLegged Robotics

Kinodynamic Model Predictive Control for Energy Efficient Locomotion of Legged Robots with Parallel Elasticity

UPS の torque contribution を kinodynamic MPC の中へ明示的に入れた点。

TL;DR

  • unidirectional parallel spring (UPS) を持つ脚ロボットに対して、その弾性を活かす kinodynamic MPC を設計した論文。
  • SLIP → SRB MPC → kinodynamic MPC の階層 warm-start 構造で、非凸な locomotion NLP を実時間で解きやすくしている。
  • energy efficiency と peak motor torque の両方を下げており、parallel elasticity を controller がちゃんと使う設計になっている。

何を解決?

ばね機構を持つ脚ロボットは、機械としては省エネ余地があるのに、controller 側がその弾性を十分活かせないことが多い。

何が新しい?

UPS の torque contribution を kinodynamic MPC の中へ明示的に入れた点。

どうやってる?

最上位では SLIP で CoM 的な粗い reference を出し、中段で SRB MPC により torso dynamics を入れた reference に整える。

どこが強い?

機構設計(parallel elasticity)と controller 設計をきちんとつないでいる。

non-AI として見る価値

「良い機構を作る」だけでは足りず、「その機構を活かす controller」が必要だとよくわかる。

自分の理解 / 感想

parallel elasticity をちゃんと control 側まで落としていて、mechanics と control の接続がきれい。

SessionModel Predictive Control for Legged Robots 1
Difficulty★★★★☆
AI依存度Non-AI
KeywordsKinodynamic MPC / Parallel Elasticity / UPS / SLIP / Energy Efficiency
29 / 60 Motion Planning 1 Motion PlanningInteractive NavigationNAMOModel Predictive Control

Pushing through Clutter with Movability Awareness of Blocking Obstacles

obstacle mass を使って **movability を連続量**として path cost に入れる点。

TL;DR

  • NAMO を binary movable / immovable でなく、**mass ベースの continuous movability** で扱う論文。
  • global path planning は **Semantic Visibility Graph**, local control は **MPPI + physics engine** でまとめている。
  • 「どの障害物なら押しても得か」を cost に素直に入れていて、interactive navigation としてかなり実用寄り。

何を解決?

cluttered environment では、押せる障害物を少し動かせば通れる場面が多い。

何が新しい?

obstacle mass を使って **movability を連続量**として path cost に入れる点。

どうやってる?

global では visibility graph を作り、通れない gap 周辺に passage node を置く。

どこが強い?

binary で雑に分けず、**押しやすさを cost として使う**のがとても自然。

non-AI として見る価値

interactive navigation を学習 policy ではなく、**geometry + cost design + physics** で解いている。

自分の理解 / 感想

発想はシンプルだがかなり効いていて、binary movability の雑さをうまく突いている。

SessionMotion Planning 1
Difficulty★★★☆☆
AI依存度Non-AI
KeywordsMovability / Visibility Graph / MPPI / Contact Force / Physics-Based Planning
30 / 60 Motion Planning 1 Motion PlanningSearchNavigation Among Movable ObstaclesInteractive Environments

Search-Based Path Planning in Interactive Environments among Movable Obstacles

PAMO を **bi-objective** と **resource-constrained** の 2 つの見方で定式化している点。

TL;DR

  • movable obstacle を押してどけてもよい path planning を、**PAMO\*** という search-based formulation でかなり真面目に解いている。
  • robot 位置だけでなく object 配置まで入るので状態空間は爆発するが、**heuristic と dominance pruning** で実用域まで持っていく。
  • multi-objective / resource-constrained の両方を扱っており、「押す回数」と「移動コスト」の trade-off を見せられるのが良い。

何を解決?

movable obstacle を含む環境では、単なる collision-free planning では足りず、「どの障害物を押すか」まで計画する必要がある。

何が新しい?

PAMO を **bi-objective** と **resource-constrained** の 2 つの見方で定式化している点。

どうやってる?

状態は robot 位置に加えて、各 movable object の位置も含む複合状態。

どこが強い?

「押してよい環境」の planning を、理論保証つき search として整理しているのが強い。

non-AI として見る価値

movable obstacle planning を learned interaction policy でなく、**状態空間設計と探索戦略**で解いているのが面白い。

自分の理解 / 感想

かなり王道な search 論文で、interactive environment をちゃんと planning problem として扱っている。

SessionMotion Planning 1
Difficulty★★★★☆
AI依存度Non-AI
KeywordsNAMO / A* / Multi-Objective Planning / Resource Constraints / Hybrid Planning
31 / 60 Motion Planning 2 Motion PlanningComputational GeometryMulti-Query PlanningPolygonal Robot

Asymptotically-Optimal Multi-Query Path Planning for a Polygonal Robot

回転角を複数の層に分け、各層で成長障害物に対する visibility graph を作る **RVG** を提案している。

TL;DR

  • 2D polygonal robot の SE(2) planning を、**rotation-stacked visibility graph (RVG)** で multi-query に解く手法。
  • 各回転層で visibility graph を作り、層間の vertex propagation を入れることで、**resolution-complete かつ asymptotically optimal** を狙っている。
  • sampling-based planner ではなく、Minkowski 和と visibility graph を押し出した、かなり computational geometry 寄りの論文。

何を解決?

並進だけなら visibility graph は強いが、回転自由度が入るとそのままでは使いにくい。

何が新しい?

回転角を複数の層に分け、各層で成長障害物に対する visibility graph を作る **RVG** を提案している。

どうやってる?

各回転区間ごとに robot shape を包み込む形で障害物の Minkowski 差分を取り、reflex vertex を使って visibility graph を構成する。

どこが強い?

sampling-based でなく **visibility graph 系の強い理論と multi-query 性**を保ったまま、SE(2) に拡張しているのが大きい。

non-AI として見る価値

幾何計画の王道で、visibility graph、Minkowski sum、optimality proof がきれいにつながっている。

自分の理解 / 感想

かなり好きなタイプの論文で、手法の核は素朴なのに、層間接続の詰め方で一段レベルが上がっている。

SessionMotion Planning 2
Difficulty★★★★☆
AI依存度Non-AI
KeywordsVisibility Graph / Minkowski Sum / SE(2) Planning / Rotation Layers / Asymptotic Optimality
32 / 60 Motion Planning 3 Motion PlanningControl

A Complete and Bounded-Suboptimal Algorithm for a Moving Target Traveling Salesman Problem with Obstacles in 3D

MT-TSP-O を **3D** で扱い、complete + bounded-suboptimal を同時に出している点。

TL;DR

  • moving target TSP with obstacles in 3D に対して、初めて **complete かつ bounded-suboptimal** なアルゴリズム `FMC*-TSP` を与えた論文。
  • target order を決める高レベル探索と、GCS 上で軌跡を解く低レベル探索を組み合わせ、訪問順序と時空間 feasibility を両方見る。
  • 3D 障害物環境・時間窓付き moving targets を、理論保証つきで扱っているのが大きい。

何を解決?

moving targets を time window 内に捕捉しつつ障害物回避して帰還する問題は、順序計画と幾何計画が強く結び付く。

何が新しい?

MT-TSP-O を **3D** で扱い、complete + bounded-suboptimal を同時に出している点。

どうやってる?

高レベルでは、target と time window をまとめた graph 上で GTSP-TW 風に候補 tour を探索する。

どこが強い?

3D moving-target planning で complete / bounded-suboptimal をちゃんと明示しているのが強い。

non-AI として見る価値

「順序最適化」と「軌跡最適化」をどうつなぐかの設計がかなり勉強になる。

自分の理解 / 感想

理論保証を崩さずに 3D へ持って行っているのが偉い。泥臭いが価値の高い planning 論文。

SessionMotion Planning 3
Difficulty★★★★☆
AI依存度Non-AI
KeywordsMT-TSP / GCS / Focal Search / Time Windows / Complete Algorithm
33 / 60 Motion Planning 3 Obstacle AvoidanceModel Predictive ControlConvex Hull GeometryMulti-Body Robot Control

Non-Conservative Obstacle Avoidance for Multi-Body Systems Leveraging Convex Hulls and Predicted Closest Points

現在の closest point だけを見るのではなく、**予測 horizon 内の closest point 候補**を制約に入れている。

TL;DR

  • 凸包で表した multi-body robot に対し、**現在の closest point だけでなく予測された closest point** も MPC 制約へ入れる obstacle avoidance 手法。
  • closest point が急に切り替わると距離予測が壊れやすい、という凸包ベース回避の実務的な弱点をかなり真っ当に潰している。
  • 医療系 IGT robot で検証しており、保守的すぎる近似を避けつつ滑らかさと安全性を上げる、という狙いがはっきりしている。

何を解決?

複雑形状ロボットの collision avoidance では、球近似は保守的すぎ、厳密形状をそのまま扱うと重い。

何が新しい?

現在の closest point だけを見るのではなく、**予測 horizon 内の closest point 候補**を制約に入れている。

どうやってる?

ロボットと障害物を convex hull 群で表し、各時刻で距離と勾配を計算する。

どこが強い?

closest point switching という、幾何ベース回避で本当に困るところを正面から扱っている。

non-AI として見る価値

collision avoidance で learned policy を使わず、幾何計算と MPC だけでかなり詰められることがわかる。

自分の理解 / 感想

派手ではないが、実機 MPC をやる人が本当に欲しい改善という感じで好印象。

SessionMotion Planning 3
Difficulty★★★☆☆
AI依存度Non-AI
KeywordsClosest Point Prediction / Convex Hull / GJK / MPC / Shared Control
34 / 60 Motion Planning 4 Multi-Path PlanningTopological Motion PlanningTethered Robot Planning3D Path Computation

Topo-Geometrically Distinct Path Computation Using Neighborhood-Augmented Graph, and Its Application to Path Planning for a Tethered Robot in 3D

各 graph vertex に単なる位置だけでなく **path neighborhood set** を持たせる発想。

TL;DR

  • **Neighborhood-Augmented Graph** を使って、topologically だけでなく geometrically も異なる複数経路を計算する手法。
  • 明示的な homotopy invariant や複雑な 3D 幾何構造を前計算せず、**経路近傍集合の重なり具合**で経路の違いを判定するのが核。
  • tethered robot in 3D への応用まで見せていて、複数の有意味な path を出したい場面にかなり向く。

何を解決?

従来の topological path planning は、異なる homotopy class を区別するのは得意だが、同一 class の中の幾何的に違う良い経路を落としやすい。

何が新しい?

各 graph vertex に単なる位置だけでなく **path neighborhood set** を持たせる発想。

どうやってる?

ベースは通常の graph search だが、探索中の各頂点に「そこへ来るまでの path neighborhood」を持たせる。

どこが強い?

topology をガチガチに記述しなくても、**複数の意味ある経路**を取り出せるのが強い。

non-AI として見る価値

graph search と topology の間を、かなり実装しやすい形でつないでいる。

自分の理解 / 感想

かなり知的に面白い論文で、トポロジーの重さをうまく graph search 側へ寄せて吸収している。

SessionMotion Planning 4
Difficulty★★★★☆
AI依存度Non-AI
KeywordsNeighborhood-Augmented Graph / Homotopy / Geodesic Path / Tether Constraint / Graph Search
35 / 60 Motion Planning and Control Robot NavigationUnknown Environment ExplorationReactive Planning and ControlLiDAR-Based Navigation

Robot Navigation in Unknown and Cluttered Workspace with Dynamical System Modulation in Starshaped Roadmap

LiDAR 点群から区分多項式で境界を近似し、**starshaped free-space region** をその場で構成する。

TL;DR

  • 未知・混雑環境に対して、LiDAR 点群から **starshaped free-space roadmap** を逐次作り、DSM ベースで反応的に走る手法。
  • 楕円や凸 corridor より広い自由空間を取りやすく、**未知環境でも star-shaped region を直接つくる**のが売り。
  • frontier 管理と stuck 判定も入っていて、reactive control だけでは詰まりやすい場面に少し deliberative 要素を足している。

何を解決?

cluttered unknown environment では、free space を保守的に切る corridor 型手法だと通れる空間を狭めすぎる。

何が新しい?

LiDAR 点群から区分多項式で境界を近似し、**starshaped free-space region** をその場で構成する。

どうやってる?

センサ点群を極座標で扱い、角度方向に piecewise polynomial を当てて free-space boundary を近似する。

どこが強い?

star-shaped 表現のおかげで、凸 corridor より **空間を無駄なく使える**。

non-AI として見る価値

point cloud から自由空間表現を作って、そのまま controller へ食わせる classical pipeline として非常に読みやすい。

自分の理解 / 感想

反応型と roadmap の中間を狙った実装で、派手ではないが実機寄りの工夫が多い。

SessionMotion Planning and Control
Difficulty★★★☆☆
AI依存度Non-AI
KeywordsStarshaped Region / Dynamical System Modulation / Frontier Point / Roadmap / Reactive Control
36 / 60 Motion Planning and Control Sequential Task SolvingReactive ManipulationGradient-Based ControlUncertainty-Aware Decision Making

No Plan but Everything under Control: Robustly Solving Sequential Tasks with Dynamically Composed Gradient Descent

単一の固定ポテンシャルではなく、複数の勾配候補を world state と interconnection から動的に構成する点。

TL;DR

  • 明示的 planner を立てず、**dynamically composed gradient descent** で sequential task を解こうとする論文。
  • AICON 的な相互接続された推定器群を使い、world regularity と現在の不確実性から **その場で有効な勾配経路**を選ぶ。
  • Blocks World と drawer manipulation を例に、planning なしでもかなり robust に多段タスクを回せる、と主張している。

何を解決?

長い sequential task は通常 planning に寄るが、不確実性や外乱があると先読みがすぐ壊れる。

何が新しい?

単一の固定ポテンシャルではなく、複数の勾配候補を world state と interconnection から動的に構成する点。

どうやってる?

タスクを構成する状態量や関係を、それぞれ推定器・相互接続として表す。

どこが強い?

planning と reactive control の二者択一ではなく、その中間をかなり本気で掘っている。

non-AI として見る価値

non-learning で sequential behavior をどこまで作れるか、という意味でかなり面白い。

自分の理解 / 感想

主張はやや挑発的だが、単なる「planner は要らない」ではなく、reactive system をどう賢く見せるかの設計が丁寧。

SessionMotion Planning and Control
Difficulty★★★★☆
AI依存度Non-AI
KeywordsDynamically Composed Gradient Descent / AICON / EKF / Sequential Tasks / Reactive Control
37 / 60 Multi-Robot Path Planning 3 Multi-Robot ManipulationConstraint ProjectionMotion PlanningCoordinated Transportation

Constrained Nonlinear Kaczmarz Projection on Intersections of Manifolds for Coordinated Multi-Robot Mobile Manipulation

nonlinear Kaczmarz を multi-robot manipulation の manifold constraint に拡張した **cNKZ**。

TL;DR

  • 多ロボ協調搬送の大量制約を、**constrained nonlinear Kaczmarz (cNKZ)** で順番に投影して解く論文。
  • 各 constraint family を manifold として書き、**constraint ごとの residual threshold** を持たせるのがポイント。
  • 80 以上の heterogeneous constraint をまとめて扱えるのがかなり強い。

何を解決?

複数の mobile manipulator が剛体構造物を運ぶと、距離・角度・姿勢・非ホロ拘束など大量の制約が同時に掛かる。

何が新しい?

nonlinear Kaczmarz を multi-robot manipulation の manifold constraint に拡張した **cNKZ**。

どうやってる?

構造拘束・タスク拘束・各 robot の非ホロ拘束を、それぞれ implicit manifold として書く。

どこが強い?

constraint 数が多い問題に対して、**1行ずつ解く Kaczmarz 的発想**がかなりスケールする。

non-AI として見る価値

多ロボ拘束問題を learning で近似せず、**数値解法と manifold 記述**で押しているのが良い。

自分の理解 / 感想

Kaczmarz をこういう形で robotics constraint projection に使うのはかなりうまい。

SessionMulti-Robot Path Planning 3
Difficulty★★★★☆
AI依存度Non-AI
KeywordsNonlinear Kaczmarz / Manifold Intersection / RRT Projection / Mobile Manipulation / Cooperative Transport
38 / 60 Multi-Robot SLAM and Mapping Multi-Robot SLAMLocalizationFrame AlignmentPerception

TCAFF: Temporal Consistency for Robot Frame Alignment

frame alignment を multiple hypothesis tracking 的に扱い、時間的一貫性で候補を絞る点。

TL;DR

  • GPS-denied 環境で複数ロボットの座標系を合わせるために、**temporal consistency** を使った multiple-hypothesis frame alignment `TCAFF` を提案している。
  • 単発の幾何マッチングではなく、候補 alignment を仮説木として追跡し、時間方向に矛盾しないものを残す。
  • multi-robot での shared map / trajectory 共有に直結する実用的な frame alignment 手法。

何を解決?

複数ロボットがそれぞれの local frame で動いていると、shared map や trajectory を扱う前に frame alignment が必要になる。

何が新しい?

frame alignment を multiple hypothesis tracking 的に扱い、時間的一貫性で候補を絞る点。

どうやってる?

各ロボットが物体検出などから spatial measurements を作り、候補となる frame alignment 測定を生成する。

どこが強い?

初期値なし・大きいずれありでも扱えるのが強い。

non-AI として見る価値

multi-robot localization の難しさが「最適化」以前に data association にあるとよくわかる。

自分の理解 / 感想

単発 alignment を当てにいかず、仮説を時間で育てる設計がかなり実践的。

SessionMulti-Robot SLAM and Mapping
Difficulty★★★★☆
AI依存度Non-AI
KeywordsFrame Alignment / Multiple Hypothesis Tracking / Temporal Consistency / Multi-Robot Mapping / Data Association
39 / 60 Optimization and Optimal Control Motion PlanningControl

Endpoint-Explicit Differential Dynamic Programming Via Exact Resolution

endpoint constraints を **exact** に解く DDP ステップを作り、quadratic convergence を主張している点。

TL;DR

  • endpoint constraints を正確に扱える constrained DDP を提案しており、既存の inexact 解法より **quadratic convergence** を狙っている。
  • Schur complement と nullspace decomposition を使い、rank-deficient な endpoint / stagewise equality constraints も処理する。
  • inverse dynamics や接触制約を含む optimal control 問題で、体操動作のような複雑タスクまで扱っている。

何を解決?

constrained DDP で endpoint constraints を入れたいとき、既存法は ADMM 的な inexact resolution に寄りがちで収束が鈍い。

何が新しい?

endpoint constraints を **exact** に解く DDP ステップを作り、quadratic convergence を主張している点。

どうやってる?

各 iteration で constraint 付き QP を解くが、その KKT 系を Schur complement / nullspace decomposition で解消する。

どこが強い?

endpoint constraints を「ペナルティでごまかす」のではなく、solver 側で正面から解いている。

non-AI として見る価値

最適制御ソルバの中身を理解したいときにかなり良い教材。

自分の理解 / 感想

DDP をただ使うだけでなく、solver の core を改善するタイプの論文でかなり好み。

SessionOptimization and Optimal Control
Difficulty★★★★★
AI依存度Non-AI
KeywordsDDP / Endpoint Constraints / Riccati Recursion / Schur Complement / Optimal Control
40 / 60 Optimization and Optimal Control OptimizationRobustness AnalysisCo-DesignDifferentiable Simulation

Enhancing Robotic System Robustness Via Lyapunov Exponent-Based Optimization

Lyapunov exponent を differentiable に計算し、gradient-based co-design に使う点。

TL;DR

  • ロボットの robustness を、**Lyapunov exponent** を直接最適化することで高めようとする論文。
  • differentiable simulation 上で hardware / control parameter を一緒に調整し、trajectory sensitivity を下げる。
  • equilibrium だけでなく limit cycle にも自然に使える robustness metric なのが良い。

何を解決?

ロボット最適化は task performance を主に見がちで、頑健性は後付けになりやすい。

何が新しい?

Lyapunov exponent を differentiable に計算し、gradient-based co-design に使う点。

どうやってる?

differentiable simulator 上で trajectory rollout を行う。

どこが強い?

robustness を ad-hoc metric でなく、**非線形力学の本流の量**で見ているのが強い。

non-AI として見る価値

robustness を「たくさん試して壊れなかった」ではなく、**力学系の性質として最適化**する発想が面白い。

自分の理解 / 感想

発想はとても良く、co-design に一本芯を通す metric として魅力がある。

SessionOptimization and Optimal Control
Difficulty★★★☆☆
AI依存度Non-AI
KeywordsLyapunov Exponents / Robustness Metric / Co-Optimization / JAX / Contact Dynamics
41 / 60 Perception 1 SLAMLocalizationLiDARPerception

Narrowing Your FOV with SOLiD: Spatially Organized and Lightweight Global Descriptor for FOV-Constrained LiDAR Place Recognition

range-elevation / azimuth-elevation の二つの投影で limited FOV に向いた global descriptor を作った点。

TL;DR

  • 限定 FOV の LiDAR でも使える place recognition descriptor `SOLiD` を提案しており、solid-state LiDAR や制約付き mount を強く意識した論文。
  • BEV に潰すのでなく、球座標ベースの range/elevation・azimuth/elevation 表現と IEV 重み付けで狭視野の情報欠損を扱う。
  • descriptor はかなり軽く、CPU ベースで高速。limited FOV 条件でも既存法より壊れにくい。

何を解決?

実ロボットではセンサ統合や mount 制約で LiDAR の FOV が狭くなることが多く、既存 descriptor は full-view 前提で崩れやすい。

何が新しい?

range-elevation / azimuth-elevation の二つの投影で limited FOV に向いた global descriptor を作った点。

どうやってる?

点群を球座標系の 3D bin に分け、REC / AEC を構成する。

どこが強い?

limited FOV を主題に据えたところがまず実用的で、sensor mount が厳しいロボットに刺さる。

non-AI として見る価値

place recognition を深層特徴ではなく記述子設計で解こうとしており、LiDAR geometry の使い方がわかりやすい。

自分の理解 / 感想

問題設定がとても良い。実機だと「full 360° LiDAR 前提じゃない」ことが多いので、かなり現場寄り。

SessionPerception 1
Difficulty★★★☆☆
AI依存度Non-AI
KeywordsPlace Recognition / Limited FOV / Global Descriptor / Loop Closure / Solid-State LiDAR
42 / 60 Perception for Manipulation 1 Manipulation PerceptionPose EstimationTactile SensingFactor Graph Optimization

Visuo-Tactile Object Pose Estimation for a Multi-Finger Robot Hand with Low-Resolution In-Hand Tactile Sensing

low-resolution binary tactile を multi-finger hand に多数載せ、factor graph に自然に統合している点。

TL;DR

  • multi-finger hand の in-hand pose estimation を、**vision + binary tactile + proprioception** の factor graph で解く論文。
  • tactile は高解像でなくても、**SDF residual** として幾何的に入れるだけで occlusion 下の pose tracking をかなり助ける。
  • vision の初期値には FoundationPose を使っており、全体としては **Hybrid** だが、コアは古典的最適化。

何を解決?

multi-finger grasp 中は hand が object を大きく隠すため、vision-only pose estimation が崩れやすい。

何が新しい?

low-resolution binary tactile を multi-finger hand に多数載せ、factor graph に自然に統合している点。

どうやってる?

vision 側は FoundationPose から初期 pose を得る。

どこが強い?

tactile を高解像画像化せず、**安い binary contact でも効く**ことを示したのが良い。

non-AI として見る価値

Hybrid ではあるが、中核は **SE(3) 最適化・SDF・factor graph** という classical pose estimation。

自分の理解 / 感想

tactile を増やしただけでなく、「どう residual に書くか」がきれい。

SessionPerception for Manipulation 1
Difficulty★★★☆☆
AI依存度Hybrid
KeywordsVisuo-Tactile Fusion / SDF / Factor Graph / In-Hand Manipulation / FoundationPose
43 / 60 Point Cloud Registration LocalizationLiDAROdometryMapping

Kinematic-ICP: Enhancing LiDAR Odometry with Kinematic Constraints for Wheeled Mobile Robots Moving on Planar Surfaces

SE(3) の ICP 修正を、そのまま受け入れるのでなく **kinematic model を通して制約**する点。

TL;DR

  • wheeled robot が平面上を動くという前提を ICP の**最適化そのもの**に入れた `Kinematic-ICP` を提案している。
  • wheel odometry を初期値に使うだけでなく、LiDAR registration の修正量を unicycle 系の運動学制約に沿って制限するのが肝。
  • 倉庫や屋外で KISS-ICP 系より安定しており、特徴が薄い corridor 的環境でも wheel 制約が効く。

何を解決?

LiDAR odometry は 6DoF registration として書かれることが多いが、平面移動する車輪ロボットでは不自然な自由度まで解いてしまう。

何が新しい?

SE(3) の ICP 修正を、そのまま受け入れるのでなく **kinematic model を通して制約**する点。

どうやってる?

wheel odometry を使って scan alignment の初期姿勢を与える。

どこが強い?

問題設定が明快で、車輪ロボットならかなり広く刺さる。

non-AI として見る価値

odometry の性能は特徴抽出だけでなく、「どんな運動を許すか」のモデル化で大きく変わるとわかる。

自分の理解 / 感想

ICP をただ頑健化するのでなく、ロボットの動き方そのものを入れているのが良い。

SessionPoint Cloud Registration
Difficulty★★★☆☆
AI依存度Non-AI
KeywordsICP / Wheeled Robots / Kinematic Constraints / Planar Motion / Wheel Odometry
44 / 60 RADAR-Based Navigation Radar NavigationTeach and RepeatOff-Road AutonomyLocalization

Radar Teach and Repeat: Architecture and Initial Field Testing

FMCW radar を使った **closed-loop teach and repeat** の一式アーキテクチャ。

TL;DR

  • FMCW radar だけで **teach and repeat** を閉ループ実証した off-road navigation 論文。
  • continuous-time ICP と高レート gyro 補間で、4 Hz radar でも path tracking を成立させている。
  • LiDAR より精度は落ちるが、**dust / fog / darkness に強い sensor choice** として radar を現実的に評価しているのが良い。

何を解決?

LiDAR や camera は悪天候・粉塵・暗所でつらく、GPS も当てにできない環境がある。

何が新しい?

FMCW radar を使った **closed-loop teach and repeat** の一式アーキテクチャ。

どうやってる?

teach phase では人が運転しながら radar scan から local submap を作り、odometry でつなぐ。

どこが強い?

「radar が使えるか」を demo でなく **実際の自律走行距離**で見せている。

non-AI として見る価値

radar autonomy を learned perception ではなく、**ICP / gyro fusion / controller** で堅く組んでいる。

自分の理解 / 感想

method novelty は大きくないが、「radar だけで本当に走れるのか」にちゃんと答えているのが価値。

SessionRADAR-Based Navigation
Difficulty★★★☆☆
AI依存度Non-AI
KeywordsFMCW Radar / ICP / Teach-and-Repeat / Gyro Fusion / Path Tracking
45 / 60 Resiliency and Security 1 SecurityLocalizationLiDARRobustness Analysis

SLAMSpoof: Practical LiDAR Spoofing Attacks on Localization Systems Guided by Scan Matching Vulnerability Analysis

scan matching の Hessian / 感度解析から、点群のどの部分が pose estimation に強く効くかを測る vulnerability score。

TL;DR

  • LiDAR-based localization に対する spoofing を、scan matching の脆弱部位解析に基づいて評価した **security paper**。
  • 論文の芯は、どの点群領域が registration を強く支配するかを測る **vulnerability score** の考え方にある。
  • 重要なのは攻撃テクニックそのものより、**LiDAR 単独 localization は思ったより攻撃面がある**と示した点。

何を解決?

これまでの LiDAR spoofing 研究は、点群を乱すだけでは localization を大きく崩せないことも多かった。

何が新しい?

scan matching の Hessian / 感度解析から、点群のどの部分が pose estimation に強く効くかを測る vulnerability score。

どうやってる?

ICP / NDT 系の registration がどの点群構造に強く依存しているかを、最適化感度の観点から解析する。

どこが強い?

security 論文として、単なる脅しでなく **scan matching の構造理解**に踏み込んでいる。

non-AI として見る価値

classical localization は高精度でも、**明示的な脆弱性解析なしでは安全でない**ことがよく分かる。

自分の理解 / 感想

攻撃論文として読むより、LiDAR localization の failure / vulnerability analysis 論文として読むと価値が高い。

SessionResiliency and Security 1
Difficulty★★★★☆
AI依存度Non-AI
KeywordsLocalization Security / Scan Matching / Vulnerability Analysis / LiDAR / Robustness
46 / 60 Robot Mapping 2 Dynamic MappingReconstructionNavigationSLAM

DynORecon: Dynamic Object Reconstruction for Navigation

各 dynamic object に **object-centric ESDF submap** を持たせ、物体座標系で再構成する点。

TL;DR

  • moving object を navigation 向けに扱うため、**object-centric submap** で動的物体を体固定座標系に再構成する論文。
  • occupied だけでなく free space も明示的に持つ ESDF ベースで、**動的物体の形と通れる空間**を両方扱っている。
  • Dynamic SLAM の object motion estimate を前提にした設計なので、dense dynamic mapping をかなり実務寄りに組んでいる。

何を解決?

static-world 前提の dense mapping では、動く物体が通った履歴が map に残って navigation を邪魔しやすい。

何が新しい?

各 dynamic object に **object-centric ESDF submap** を持たせ、物体座標系で再構成する点。

どうやってる?

Dynamic SLAM から object ごとの SE(3) motion とラベル付き点群を受け取る。

どこが強い?

dynamic scene で **形状再構成と navigation 用 free-space** を両立しているのが強い。

non-AI として見る価値

dynamic environment を学習で吸収せず、**SE(3) motion + ESDF + submap** で整理しているのが良い。

自分の理解 / 感想

大発明というより、dynamic mapping のつらいところにかなりまっすぐ答えた論文。

SessionRobot Mapping 2
Difficulty★★★☆☆
AI依存度Non-AI
KeywordsESDF / Object Submaps / Dynamic SLAM / Free-Space Mapping / Rigid Motion
47 / 60 Robot Mapping 2 Lifelong MappingLiDARChange DetectionDynamic Object Removal

Ephemerality Meets LiDAR-Based Lifelong Mapping

各点に local / global の **two-stage ephemerality** を持たせる点。

TL;DR

  • lifelong mapping の binary static/dynamic を超えて、**ephemerality = その点が一時的かどうか** を連続値で持つ論文。
  • local ephemerality と global ephemerality を分け、alignment / dynamic removal / map update の全段に使っている。
  • parked car と新しい壁の違いのような、**長期地図で本当に欲しい区別**をかなり自然に扱える。

何を解決?

長期地図では、静的/動的の二値だけでは変化をうまく表せない。

何が新しい?

各点に local / global の **two-stage ephemerality** を持たせる点。

どうやってる?

multi-session alignment では、ephemeral な点の重みを下げて static 寄りの点で位置合わせする。

どこが強い?

binary change detection より表現力が高く、**長期運用の地図らしさ**がかなり増す。

non-AI として見る価値

lifelong mapping で本当に大事なのは「今動いているか」より **どれくらい一時的な存在か** だと分かる。

自分の理解 / 感想

とても実務的で、長期運用 map の困りごとにかなり素直に答えている。

SessionRobot Mapping 2
Difficulty★★★☆☆
AI依存度Non-AI
KeywordsEphemerality / Multi-Session Alignment / Bayesian Update / Ray Casting / Delta Map
48 / 60 SLAM 3 SLAMMappingLiDAROptimization

Submodular Optimization for Keyframe Selection & Usage in SLAM

keyframe selection を submodular set function として定式化し、理論保証付きの近似選択を行う点。

TL;DR

  • SLAM の keyframe selection と submap generation を、ヒューリスティックではなく **submodular optimization** として定式化した論文。
  • 似たフレームを無駄に抱え込まない keyframe 選択、局所化をよく拘束する submap 選択、容量制限付き map summarization の3点をまとめて扱う。
  • メモリ削減と計算時間改善を両立しており、SLAM を長時間回す実システムにかなり実用的。

何を解決?

多くの SLAM は、どの scan を keyframe として残すかを単純な距離閾値などで決めていて無駄が多い。

何が新しい?

keyframe selection を submodular set function として定式化し、理論保証付きの近似選択を行う点。

どうやってる?

点群の global descriptor を作り、descriptor 空間で似たフレームを避けながら keyframe を選ぶ。

どこが強い?

メモリ削減と計算時間短縮がはっきりしていて、長時間運用へ直結しやすい。

non-AI として見る価値

SLAM の性能は front-end / back-end だけでなく、「何を保存するか」でかなり変わるとわかる。

自分の理解 / 感想

かなり地味だが、製品化や長時間運用ではこういう論文が効く。

SessionSLAM 3
Difficulty★★★★☆
AI依存度Non-AI
KeywordsKeyframe Selection / Submodular Optimization / Submap Generation / Map Summarization / LiDAR SLAM
49 / 60 SLAM 3 SLAMLocalizationRange SensingState Estimation

Equivariant Filter Design for Range-Only SLAM

range-only measurement と整合する symmetry Lie group を明示し、その上で EqF を導いた点。

TL;DR

  • range-only SLAM に対して、距離観測と相性の良い Lie 群対称性を使った **equivariant filter** を設計した論文。
  • landmark 初期化を前提にせず、no-prior 条件でも回りやすい filter を目指している。
  • UWB / BLE / acoustic beacon 系の localization を、古典的だがかなり美しい形で再定式化している。

何を解決?

range-only SLAM は landmark 初期化や観測の非線形性が厳しく、標準 EKF だと linearization error に苦しみやすい。

何が新しい?

range-only measurement と整合する symmetry Lie group を明示し、その上で EqF を導いた点。

どうやってる?

robot pose と landmark state を含む range-only SLAM を、多様体上の状態空間として書く。

どこが強い?

range-only SLAM という難しい設定で、bootstrap なしを狙っているのが強い。

non-AI として見る価値

beacon localization や UWB SLAM を、state estimation の設計原理から理解できる。

自分の理解 / 感想

数学はかなり重いが、range-only SLAM をここまできれいに書き直しているのが良い。

SessionSLAM 3
Difficulty★★★★★
AI依存度Non-AI
KeywordsRange-Only SLAM / Equivariant Filter / Lie Group / UWB / Beacon Localization
50 / 60 SLAM 4 SLAMLocalizationLiDARMapping

GenZ-ICP: Generalizable and Degeneracy-Robust LiDAR Odometry Using an Adaptive Weighting

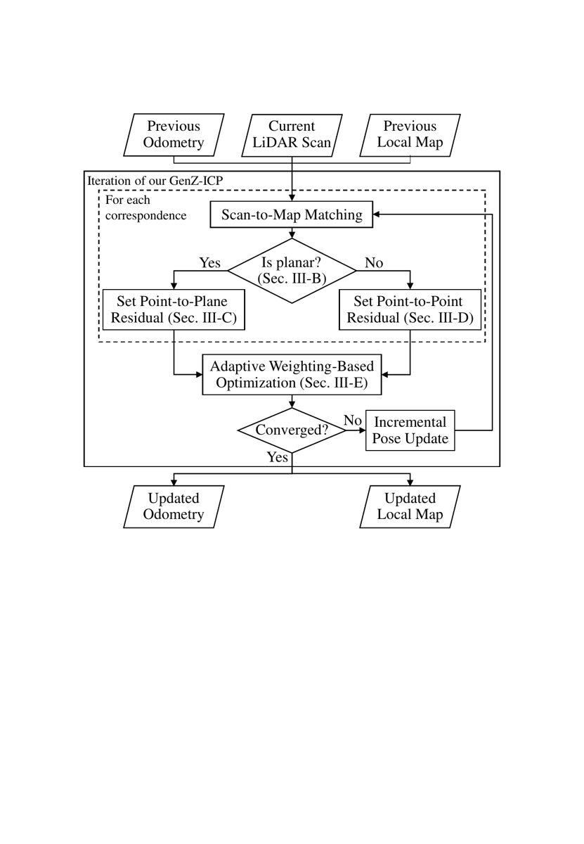
対応点ごとの **planarity classification** によって、点対平面と点対点を局所的に使い分ける点。

TL;DR

  • LiDAR odometry が corridor のような退化環境で壊れやすい原因を、単一の ICP error metric 依存だと捉え、`GenZ-ICP` を提案している。
  • point-to-plane と point-to-point を局所幾何に応じて切り替え、adaptive weighting で混ぜることで、構造化環境と非構造化環境の両方に対応する。
  • 一般環境では SOTA 級と同等、長廊下のような退化ケースではかなり強く、ill-posed optimization を避けるのが効いている。

何を解決?

point-to-plane は structured 環境では強いが、normal が信用できない場面では弱い。

何が新しい?

対応点ごとの **planarity classification** によって、点対平面と点対点を局所的に使い分ける点。

どうやってる?

scan-to-map matching の各 correspondence について、局所幾何から planar か non-planar かを判定する。

どこが強い?

設計がかなり素直で、既存 ICP 系フロントエンドに入れやすい。

non-AI として見る価値

LiDAR odometry の性能差が「特徴量」よりもまず residual 設計で決まることを実感しやすい。

自分の理解 / 感想

かなり好きなタイプの論文で、派手な新規モデルより「どの residual をどこで使うか」を丁寧に詰めている。

SessionSLAM 4
Difficulty★★★★☆
AI依存度Non-AI
KeywordsICP / Degeneracy / Point-to-Plane / Point-to-Point / Adaptive Weighting
51 / 60 SLAM 4 SLAMLocalizationRadarMapping

Introspective Loop Closure for SLAM with 4D Imaging Radar

similar viewpoint と opposing viewpoint を明示的に分けて扱う loop closure 設計。

TL;DR

  • 4D imaging radar の狭い FOV と疎で noisy な点群でも loop closure できるように、**introspective verification** を入れた radar SLAM の loop detection 手法。
  • CartContext descriptor、sequence-based filtering、odometry-coupled search を組み合わせ、similar viewpoint だけでなく opposing viewpoint も扱う。
  • 候補 loop を最後に quality metrics の分類器で検証するので、自己相似環境での false loop をかなり減らせる。

何を解決?

4D imaging radar は悪環境に強いが、FOV が狭く点群も疎なので、LiDAR のような loop closure がそのまま効かない。

何が新しい?

similar viewpoint と opposing viewpoint を明示的に分けて扱う loop closure 設計。

どうやってる?

odometry と submap を作りつつ、CartContext で radar keyframe descriptor を構築する。

どこが強い?

radar 固有の limited FOV と sparse point cloud を正面から扱っている。

non-AI として見る価値

radar SLAM の loop closure を、descriptor・時系列・後段検証の組み合わせで解く設計が学べる。

自分の理解 / 感想

radar はまだ LiDAR ほど手法が枯れていないので、こういう failure-aware な loop closure 設計は価値が高い。

SessionSLAM 4
Difficulty★★★★☆
AI依存度Non-AI
Keywords4D Imaging Radar / Loop Closure / CartContext / Introspective Verification / Sequence Filtering
52 / 60 SLAM 4 Multi-Robot SLAMLocalizationRange SensingState Estimation

Distributed Certifiably Correct Range-Aided SLAM

RA-SLAM に対して **distributed certifiably correct** なアルゴリズムを与えた点。

TL;DR

  • range-aided SLAM を multi-agent / distributed setting で、しかも **certifiably correct** に解こうとする `DCORA` の論文。
  • RA-SLAM を QCQP → SDP → rank-restricted problem と整理し、Riemannian Staircase で globally optimality certificate まで見に行く。
  • centralized CORA に近い精度を分散で狙っており、通信制約下の multi-robot SLAM としてかなり筋が良い。

何を解決?

複数ロボットが UWB などの range 観測を持つとき、RA-SLAM は自然だが、非凸性と分散計算の両方が難しい。

何が新しい?

RA-SLAM に対して **distributed certifiably correct** なアルゴリズムを与えた点。

どうやってる?

RA-SLAM の最尤問題を QCQP として書き、そこから SDP 緩和へ落とす。

どこが強い?

distributed SLAM でここまで理論保証を押し出しているのが強い。

non-AI として見る価値

multi-robot SLAM を「なんとなく解く」のではなく、最適性認証つきで解く世界観が学べる。

自分の理解 / 感想

数学は重いが、certifiable SLAM の流れを distributed まで伸ばしているのが良い。

SessionSLAM 4
Difficulty★★★★★
AI依存度Non-AI
KeywordsRange-Aided SLAM / Certifiable Optimization / Riemannian Staircase / Distributed SLAM / Global Optimality
53 / 60 Sensor Fusion 1 SLAMSensor FusionState Estimation

A Hessian for Gaussian Mixture Likelihoods in Nonlinear Least Squares

mixture likelihood 全体の Hessian を、成分ごとの GN 近似と chain rule で組み上げる `HSM` を提案した点。

TL;DR

  • Gaussian mixture likelihood を含む robotics の MAP 推定を NLS として解くとき、既存の Max-Mixture / Sum-Mixture 系より筋の良い Hessian 近似を与える論文。
  • LogSumExp の非線形性を正面から見て、各 mixture 成分の Gauss-Newton 近似を chain rule でまとめる `Hessian-Sum-Mixture` を提案している。
  • 既存 solver と互換性を保ちながら、収束性と uncertainty characterization を改善するのが狙い。

何を解決?

data association や outlier を扱うために Gaussian mixture likelihood を入れると、NLS の Hessian 近似が難しくなる。

何が新しい?

mixture likelihood 全体の Hessian を、成分ごとの GN 近似と chain rule で組み上げる `HSM` を提案した点。

どうやってる?

負の対数 mixture likelihood を LogSumExp 付きの目的関数として定義し、その一階・二階構造を展開する。

どこが強い?

mixture likelihood を robotics optimizer に素直に入れたい人にとって、かなり実装しやすい形で整理されている。

non-AI として見る価値

SLAM / sensor fusion の裏側にある optimizer を一段深く理解できる。

自分の理解 / 感想

これは派手な応用論文ではないが、最適化器の土台を良くするタイプで好き。

SessionSensor Fusion 1
Difficulty★★★★☆
AI依存度Non-AI
KeywordsGaussian Mixture / Nonlinear Least Squares / Hessian Approximation / MAP Estimation / Robust Inference
54 / 60 State Estimation SLAMLocalizationSensor FusionState Estimation

Equivariant IMU Preintegration with Biases: A Galilean Group Approach

bias と navigation state を幾何的に結合した新しい preintegration error を導いた点。

TL;DR

  • IMU preintegration を、bias を外付け state として扱う従来形ではなく、Galilean group の拡張空間で幾何的に定式化し直した論文。
  • bias と navigation state をまとめた preintegration error を導き、線形化誤差と consistency を改善したい立場。
  • EuRoC では NEES などの一貫性指標で既存 preintegration より良い結果を示しており、理論色の強い基盤論文。

何を解決?

既存の IMU preintegration は bias を別空間に持つことが多く、幾何構造と linearization の噛み合いが悪くなりやすい。

何が新しい?

bias と navigation state を幾何的に結合した新しい preintegration error を導いた点。

どうやってる?

continuous-time biased INS を Galilean group に沿って書き換え、preintegrated increment を群の指数写像で更新する。

どこが強い?

preintegration を「便利な近似部品」ではなく、state geometry から組み直しているのが強い。

non-AI として見る価値

VIO / INS の性能が「フロントエンド」以前に、IMU モデルの持ち方で変わることを学べる。

自分の理解 / 感想

かなり理論寄りだが、こういう基礎部品の改善は長い目で効く。Top 12 に入れる理由は十分ある。

SessionState Estimation
Difficulty★★★★★
AI依存度Non-AI
KeywordsIMU Preintegration / Galilean Group / Equivariant Filtering / Consistency / Lie Theory
55 / 60 State Estimation State EstimationContinuum RoboticsSensor FusionFactor Graph Optimization

State Estimation for Continuum Multi-Robot Systems on SE(3)

coupled continuum multi-robot system 全般を扱える一般的な state estimator。

TL;DR

  • continuum multi-robot system の shape / strain estimation を、**SE(3) 上の Gaussian process + factor graph** で解く論文。
  • 並列・協調・混合トポロジまで含む **任意結合 topology** を扱えるのが大きい。
  • force/moment を直接知らなくても、Cosserat rod ベース prior と sensor fusion で実時間推定している。

何を解決?

continuum robot は変形自由度が大きく、単体でも状態推定が難しい。

何が新しい?

coupled continuum multi-robot system 全般を扱える一般的な state estimator。

どうやってる?

各 continuum robot を Cosserat rod 系の簡略 prior で表し、arclength 離散点上に pose / strain state を置く。

どこが強い?

continuum multi-robot という難しい設定に対して、**かなり一般的な枠組み**を出している。

non-AI として見る価値

continuum robotics で state estimation をどう立てるかが、**SE(3)・GP・Cosserat rod** の接続としてきれいに見える。

自分の理解 / 感想

数学的には重いが、かなり良い classical robotics 論文。

SessionState Estimation
Difficulty★★★★☆
AI依存度Non-AI
KeywordsSE(3) / Gaussian Process / Cosserat Rod / FBG / EM Tracking / Sparse Cholesky
56 / 60 Surgical Robotics: Planning Surgical RoboticsModel Predictive ControlSampling-Based PlanningLaser Ablation

Sampling-Based Model Predictive Control for Volumetric Ablation in Robotic Laser Surgery

volumetric ablation を Gaussian beam model で近似し、sampling-based MPC に載せている点。

TL;DR

  • robotic laser surgery の volumetric ablation を、**sampling-based MPC** で計画する論文。
  • Gaussian point-ablation model を使い、角度付き・複数回照射を含む 3D resection planning をやっている。
  • real surgery 直前にそのまま使うにはまだ重いが、**pre-op planning** としてはかなり筋が良い。

何を解決?

laser ablation で複雑形状の腫瘍を削るには、どこをどの角度・出力で何回照射するかを決める必要がある。

何が新しい?

volumetric ablation を Gaussian beam model で近似し、sampling-based MPC に載せている点。

どうやってる?

各 laser shot の ablation 量を、spot size と距離に基づく Gaussian model で表す。

どこが強い?

ただの path planning でなく、**切除 volume そのもの**を最適化対象にしている。

non-AI として見る価値

surgical planning を learned policy でなく、**物理モデル + constraint-aware planning** で解いているのが良い。

自分の理解 / 感想

応用は特殊だが、中身はかなり王道の model-based planning。

SessionSurgical Robotics: Planning
Difficulty★★★★☆
AI依存度Non-AI
KeywordsVolumetric Ablation / MPC / Graph Search / Gaussian Beam Model / Surgical Planning
57 / 60 Task and Motion Planning 1 Task and Motion PlanningFormal MethodsMixed-Integer OptimizationTemporal Logic

Optimization-Based Task and Motion Planning under Signal Temporal Logic Specifications Using Logic Network Flow

STL の論理構造を tree ではなく **network flow** として書き直す LNF。

TL;DR

  • STL 付き TAMP を MILP で解くとき、logic tree の代わりに **logic network flow (LNF)** で論理を表す論文。
  • predicate を leaf でなく **edge 上の flow constraint** として持つことで、convex relaxation を tighter にしている。
  • 理論は綺麗だが、wall-clock では per-node cost も増えるので、常に速いわけではないのが正直なところ。

何を解決?

STL 制約付き TAMP は expressiveness が高い一方、MILP 化すると branch-and-bound が重い。

何が新しい?

STL の論理構造を tree ではなく **network flow** として書き直す LNF。

どうやってる?

STL formula を再帰的に分解し、and/or 構造を network flow graph に変換する。

どこが強い?

formal methods と optimization の接続がきれいで、考え方がかなり整理されている。

non-AI として見る価値

TAMP を learned policy でなく、**temporal logic + MILP** で押し切る formal planning の良い例。

自分の理解 / 感想

かなり数理っぽいが、logic tree を flow に言い換える発想は美しい。

SessionTask and Motion Planning 1
Difficulty★★★★☆
AI依存度Non-AI
KeywordsSTL / MILP / Logic Network Flow / Branch-and-Bound / Dynamic Network Flow
58 / 60 Visual-Inertial Odometry SLAMLocalizationSensor FusionState Estimation

DynaVINS++: Robust Visual-Inertial State Estimator in Dynamic Environments by Adaptive Truncated Least Squares and Stable State Recovery

視覚残差に対して truncation range を固定せず、状況に応じて調整する **adaptive TLS** を入れた点。

TL;DR

  • 動的環境の VINS が急に動き出す物体で壊れる問題に対して、`DynaVINS++` は adaptive truncated least squares と state recovery を組み合わせて立て直す。
  • 視覚残差の外れ値処理だけでなく、IMU bias の崩れも監視して rollback する構成になっているのがポイント。
  • public / real-world dataset で、abruptly dynamic object が出る場面でも既存 robust VINS より安定している。

何を解決?

動的環境向け VINS は多数あるが、「途中から急に動き出す物体」による外れ値は依然つらい。

何が新しい?

視覚残差に対して truncation range を固定せず、状況に応じて調整する **adaptive TLS** を入れた点。

どうやってる?

bundle adjustment / VINS optimization の中で、feature association と IMU preintegration を見ながら truncation range を調整する。

どこが強い?

abruptly dynamic objects に対して、既存の robust VINS より failure mode をよく捉えている。

non-AI として見る価値

dynamic environment の VINS を、semantic segmentation なしでどこまで守れるかを見る上で価値が高い。

自分の理解 / 感想

これはかなり実装寄りで、動的物体に強い VINS を作るときの failure analysis がうまい。

SessionVisual-Inertial Odometry
Difficulty★★★☆☆
AI依存度Non-AI
KeywordsVINS / Dynamic Objects / Truncated Least Squares / IMU Bias / Robust Estimation
59 / 60 Visual-Inertial Odometry OdometryExoskeleton RoboticsElevation MappingSensor Fusion

Leg Exoskeleton Odometry Using a Limited FOV Depth Sensor

点群を直接 point cloud map に合わせるのでなく、**elevation map へ ICP** する構成。

TL;DR

  • exoskeleton に載せた **limited-FOV depth sensor** 向けの odometry / elevation mapping 論文。
  • proprioceptive EKF と、**point-cloud-to-elevation-map ICP** を組み合わせて pose を補正している。
  • ICP covariance に normal uncertainty まで入れる点が技術的に一番おいしい。

何を解決?

exoskeleton はセンサを head/chest に積みにくく、膝上あたりの limited FOV 深度カメラになりがち。

何が新しい?

点群を直接 point cloud map に合わせるのでなく、**elevation map へ ICP** する構成。

どうやってる?

joint encoder と IMU から EKF で proprioceptive pose を推定する。

どこが強い?

platform 制約をよく見ていて、**rich map ではなく elevation map に寄せる**判断が現実的。

non-AI として見る価値

exoskeleton robotics の sensing 問題を、**ICP / EKF / elevation map** で堅く解いている。

自分の理解 / 感想

センサが悪い場所にしか置けない、という exoskeleton らしい難しさがよく出ている。

SessionVisual-Inertial Odometry
Difficulty★★★★☆
AI依存度Non-AI
KeywordsICP / Elevation Map / EKF / Limited FOV / Covariance Estimation / Exoskeleton
60 / 60 Visual-Inertial Odometry Visual-Inertial OdometryInitializationBundle AdjustmentState Estimation

Improving Monocular Visual-Inertial Initialization with Structureless Visual-Inertial Bundle Adjustment

3D landmark を持たない **structureless visual-inertial BA** を初期化 refinement に使う点。

TL;DR

  • monocular VIO initialization を、**structureless visual-inertial BA** で精度改善する論文。
  • 3D point を明示再構成せず、epipolar constraint と IMU preintegration を使って **初期化だけを joint refinement** している。
  • full structure-based BA ほど重くしたくないが、従来の decoupled structureless init よりは精度が欲しい、というかなり実務的な狙い。

何を解決?

monocular VIO は初期化が不安定だと、その後全部が崩れる。

何が新しい?

3D landmark を持たない **structureless visual-inertial BA** を初期化 refinement に使う点。

どうやってる?

まず既存の structureless 法で初期姿勢・速度・bias などをざっくり求める。

どこが強い?

structureless の軽さを保ちながら、初期化精度をかなり改善している。

non-AI として見る価値

VIO の難所である initialization を、**epipolar geometry と IMU preintegration** で丁寧に詰めている。

自分の理解 / 感想

派手な新機軸ではないが、VIO を実装するときにかなり欲しい改善。

SessionVisual-Inertial Odometry
Difficulty★★★☆☆
AI依存度Non-AI
KeywordsStructureless BA / Epipolar Constraint / IMU Preintegration / Monocular VIO / Initialization